Закладные изделия МН 145 по серии 1.400-15 выпуск 1
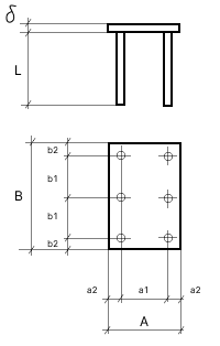
Изделие закладное МН 145-1
![]() |
Параметр | Обозначение | Значение |
| Размер пластины, мм | А | 300 | |
| Размер пластины, мм | B | 500 | |
| Размер пластины, мм | б | 8 | |
| Привязки анкеров, мм | а1 | 220 | |
| Привязки анкеров, мм | а2 | 40 | |
| Привязки анкеров, мм | b1 | 210 | |
| Привязки анкеров, мм | b2 | 40 | |
| Количество и диаметр анкеров | 6ф12AIII | ||
| Длина анкеров, мм | L | 470 | |
| Выборка стали на 1 изделие (профильная сталь), кг | -б=8 | 9.4 | |
| Выборка стали на 1 изделие (арм. A3 ф12), кг | 2.5 | ||
| Итого, кг | 11.9 | ||
| Обозначение детали | 1.400-15.B1.150-72 |
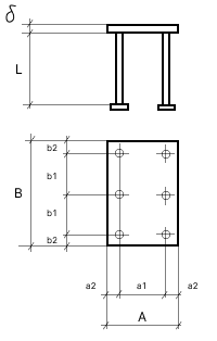
Изделие закладное МН 145-2
![]() |
Параметр | Обозначение | Значение |
| Размер пластины, мм | А | 300 | |
| Размер пластины, мм | B | 500 | |
| Размер пластины, мм | б | 8 | |
| Привязки анкеров, мм | а1 | 220 | |
| Привязки анкеров, мм | а2 | 40 | |
| Привязки анкеров, мм | b1 | 210 | |
| Привязки анкеров, мм | b2 | 40 | |
| Количество и диаметр анкеров | 6ф12AIII | ||
| Длина анкеров, мм | L | 370 | |
| Выборка стали на 1 изделие (профильная сталь), кг | -б=8 | 9.4 | |
| Выборка стали на 1 изделие (арм. A3 ф12), кг | 2 | ||
| Итого, кг | 11.4 | ||
| Обозначение детали | 1.400-15.B1.150-73 |
Изделие закладное МН 145-3
![]() |
Параметр | Обозначение | Значение |
| Размер пластины, мм | А | 300 | |
| Размер пластины, мм | B | 500 | |
| Размер пластины, мм | б | 8 | |
| Привязки анкеров, мм | а1 | 220 | |
| Привязки анкеров, мм | а2 | 40 | |
| Привязки анкеров, мм | b1 | 210 | |
| Привязки анкеров, мм | b2 | 40 | |
| Количество и диаметр анкеров | 6ф12AIII | ||
| Длина анкеров, мм | L | 270 | |
| Выборка стали на 1 изделие (профильная сталь), кг | -б=8 | 9.4 | |
| Выборка стали на 1 изделие (арм. A3 ф12), кг | 1.4 | ||
| Итого, кг | 10.8 | ||
| Обозначение детали | 1.400-15.B1.150-74 |
Изделие закладное МН 145-4
![]() |
Параметр | Обозначение | Значение |
| Размер пластины, мм | А | 300 | |
| Размер пластины, мм | B | 500 | |
| Размер пластины, мм | б | 8 | |
| Привязки анкеров, мм | а1 | 220 | |
| Привязки анкеров, мм | а2 | 40 | |
| Привязки анкеров, мм | b1 | 210 | |
| Привязки анкеров, мм | b2 | 40 | |
| Количество и диаметр анкеров | 6ф12AIII | ||
| Длина анкеров, мм | L | 470 | |
| Размеры пластин усиления и кол-во, мм | 50х50х10 (шт.6) | ||
| Выборка стали на 1 изделие (профильная сталь), кг | -б=8 | 9.4 | |
| Выборка стали на 1 изделие (профильная сталь), кг | -б=10 | 1.2 | |
| Выборка стали на 1 изделие (арм. A3 ф12), кг | 2.5 | ||
| Итого, кг | 13.1 | ||
| Обозначение детали | 1.400-15.B1.150-75 |
Изделие закладное МН 145-5
![]() |
Параметр | Обозначение | Значение |
| Размер пластины, мм | А | 300 | |
| Размер пластины, мм | B | 500 | |
| Размер пластины, мм | б | 8 | |
| Привязки анкеров, мм | а1 | 220 | |
| Привязки анкеров, мм | а2 | 40 | |
| Привязки анкеров, мм | b1 | 210 | |
| Привязки анкеров, мм | b2 | 40 | |
| Количество и диаметр анкеров | 6ф12AIII | ||
| Длина анкеров, мм | L | 370 | |
| Размеры пластин усиления и кол-во, мм | 50х50х10 (шт.6) | ||
| Выборка стали на 1 изделие (профильная сталь), кг | -б=8 | 9.4 | |
| Выборка стали на 1 изделие (профильная сталь), кг | -б=10 | 1.2 | |
| Выборка стали на 1 изделие (арм. A3 ф12), кг | 2 | ||
| Итого, кг | 12.6 | ||
| Обозначение детали | 1.400-15.B1.150-76 |
Изделие закладное МН 145-6
![]() |
Параметр | Обозначение | Значение |
| Размер пластины, мм | А | 300 | |
| Размер пластины, мм | B | 500 | |
| Размер пластины, мм | б | 8 | |
| Привязки анкеров, мм | а1 | 220 | |
| Привязки анкеров, мм | а2 | 40 | |
| Привязки анкеров, мм | b1 | 210 | |
| Привязки анкеров, мм | b2 | 40 | |
| Количество и диаметр анкеров | 6ф12AIII | ||
| Длина анкеров, мм | L | 170 | |
| Размеры пластин усиления и кол-во, мм | 50х50х10 (шт.6) | ||
| Выборка стали на 1 изделие (профильная сталь), кг | -б=8 | 9.4 | |
| Выборка стали на 1 изделие (профильная сталь), кг | -б=10 | 1.2 | |
| Выборка стали на 1 изделие (арм. A3 ф12), кг | 0.9 | ||
| Итого, кг | 11.5 | ||
| Обозначение детали | 1.400-15.B1.150-77 |

