Закладные изделия МН 135 по серии 1.400-15 выпуск 1
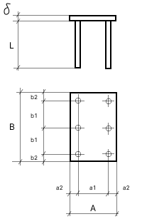
Изделие закладное МН 135-1
![]() |
Параметр | Обозначение | Значение |
| Размер пластины, мм | А | 150 | |
| Размер пластины, мм | B | 300 | |
| Размер пластины, мм | б | 8 | |
| Привязки анкеров, мм | а1 | 90 | |
| Привязки анкеров, мм | а2 | 30 | |
| Привязки анкеров, мм | b1 | 110 | |
| Привязки анкеров, мм | b2 | 40 | |
| Количество и диаметр анкеров | 6ф12AIII | ||
| Длина анкеров, мм | L | 470 | |
| Выборка стали на 1 изделие (профильная сталь), кг | -б=8 | 2.8 | |
| Выборка стали на 1 изделие (арм. A3 ф12), кг | 2.5 | ||
| Итого, кг | 5.3 | ||
| Обозначение детали | 1.400-15.B1.150-12 |
Изделие закладное МН 135-2
![]() |
Параметр | Обозначение | Значение |
| Размер пластины, мм | А | 150 | |
| Размер пластины, мм | B | 300 | |
| Размер пластины, мм | б | 8 | |
| Привязки анкеров, мм | а1 | 90 | |
| Привязки анкеров, мм | а2 | 30 | |
| Привязки анкеров, мм | b1 | 110 | |
| Привязки анкеров, мм | b2 | 40 | |
| Количество и диаметр анкеров | 6ф12AIII | ||
| Длина анкеров, мм | L | 370 | |
| Выборка стали на 1 изделие (профильная сталь), кг | -б=8 | 2.8 | |
| Выборка стали на 1 изделие (арм. A3 ф12), кг | 2 | ||
| Итого, кг | 4.8 | ||
| Обозначение детали | 1.400-15.B1.150-13 |
Изделие закладное МН 135-3
![]() |
Параметр | Обозначение | Значение |
| Размер пластины, мм | А | 150 | |
| Размер пластины, мм | B | 300 | |
| Размер пластины, мм | б | 8 | |
| Привязки анкеров, мм | а1 | 90 | |
| Привязки анкеров, мм | а2 | 30 | |
| Привязки анкеров, мм | b1 | 110 | |
| Привязки анкеров, мм | b2 | 40 | |
| Количество и диаметр анкеров | 6ф12AIII | ||
| Длина анкеров, мм | L | 270 | |
| Выборка стали на 1 изделие (профильная сталь), кг | -б=8 | 2.8 | |
| Выборка стали на 1 изделие (арм. A3 ф12), кг | 1.4 | ||
| Итого, кг | 4.2 | ||
| Обозначение детали | 1.400-15.B1.150-14 |
Изделие закладное МН 135-4
![]() |
Параметр | Обозначение | Значение |
| Размер пластины, мм | А | 150 | |
| Размер пластины, мм | B | 300 | |
| Размер пластины, мм | б | 8 | |
| Привязки анкеров, мм | а1 | 90 | |
| Привязки анкеров, мм | а2 | 30 | |
| Привязки анкеров, мм | b1 | 110 | |
| Привязки анкеров, мм | b2 | 40 | |
| Количество и диаметр анкеров | 6ф12AIII | ||
| Длина анкеров, мм | L | 470 | |
| Размеры пластин усиления и кол-во, мм | 50х50х10 (шт.6) | ||
| Выборка стали на 1 изделие (профильная сталь), кг | -б=8 | 2.8 | |
| Выборка стали на 1 изделие (профильная сталь), кг | -б=10 | 1.2 | |
| Выборка стали на 1 изделие (арм. A3 ф12), кг | 2.5 | ||
| Итого, кг | 6.5 | ||
| Обозначение детали | 1.400-15.B1.150-15 |
Изделие закладное МН 135-5
![]() |
Параметр | Обозначение | Значение |
| Размер пластины, мм | А | 150 | |
| Размер пластины, мм | B | 300 | |
| Размер пластины, мм | б | 8 | |
| Привязки анкеров, мм | а1 | 90 | |
| Привязки анкеров, мм | а2 | 30 | |
| Привязки анкеров, мм | b1 | 110 | |
| Привязки анкеров, мм | b2 | 40 | |
| Количество и диаметр анкеров | 6ф12AIII | ||
| Длина анкеров, мм | L | 370 | |
| Размеры пластин усиления и кол-во, мм | 50х50х10 (шт.6) | ||
| Выборка стали на 1 изделие (профильная сталь), кг | -б=8 | 2.8 | |
| Выборка стали на 1 изделие (профильная сталь), кг | -б=10 | 1.2 | |
| Выборка стали на 1 изделие (арм. A3 ф12), кг | 2 | ||
| Итого, кг | 6 | ||
| Обозначение детали | 1.400-15.B1.150-16 |
Изделие закладное МН 135-6
![]() |
Параметр | Обозначение | Значение |
| Размер пластины, мм | А | 150 | |
| Размер пластины, мм | B | 300 | |
| Размер пластины, мм | б | 8 | |
| Привязки анкеров, мм | а1 | 90 | |
| Привязки анкеров, мм | а2 | 30 | |
| Привязки анкеров, мм | b1 | 110 | |
| Привязки анкеров, мм | b2 | 40 | |
| Количество и диаметр анкеров | 6ф12AIII | ||
| Длина анкеров, мм | L | 170 | |
| Размеры пластин усиления и кол-во, мм | 50х50х10 (шт.6) | ||
| Выборка стали на 1 изделие (профильная сталь), кг | -б=8 | 2.8 | |
| Выборка стали на 1 изделие (профильная сталь), кг | -б=10 | 1.2 | |
| Выборка стали на 1 изделие (арм. A3 ф12), кг | 0.9 | ||
| Итого, кг | 4.9 | ||
| Обозначение детали | 1.400-15.B1.150-17 |

