Закладные изделия МН 130 по серии 1.400-15 выпуск 1
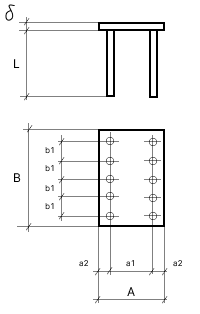
Изделие закладное МН 130-1
![]() |
Параметр | Обозначение | Значение |
| Размер пластины, мм | А | 200 | |
| Размер пластины, мм | B | п.м. | |
| Размер пластины, мм | б | 8 | |
| а1 | 120 | ||
| Привязки анкеров, мм | а2 | 40 | |
| Привязки анкеров, мм | b1 | 200 | |
| Количество и диаметр анкеров | 10ф12AIII | ||
| Длина анкеров, мм | L | 470 | |
| Выборка стали на 1 изделие (профильная сталь), кг | -б=8 | 12.6 | |
| Выборка стали на 1 изделие (арм. A3 ф12), кг | 4.2 | ||
| Итого, кг | 16.8 | ||
| Обозначение детали | 1.400-15.B1.140-18 |
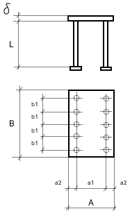
Изделие закладное МН 130-2
![]() |
Параметр | Обозначение | Значение |
| Размер пластины, мм | А | 200 | |
| Размер пластины, мм | B | п.м. | |
| Размер пластины, мм | б | 8 | |
| Привязки анкеров, мм | а1 | 120 | |
| Привязки анкеров, мм | а2 | 40 | |
| Привязки анкеров, мм | b1 | 200 | |
| Количество и диаметр анкеров | 10ф12AIII | ||
| Длина анкеров, мм | L | 370 | |
| Выборка стали на 1 изделие (профильная сталь), кг | -б=8 | 12.6 | |
| Выборка стали на 1 изделие (арм. A3 ф12), кг | 3.3 | ||
| Итого, кг | 15.9 | ||
| Обозначение детали | 1.400-15.B1.140-19 |
Изделие закладное МН 130-3
![]() |
Параметр | Обозначение | Значение |
| Размер пластины, мм | А | 200 | |
| Размер пластины, мм | B | п.м. | |
| Размер пластины, мм | б | 8 | |
| Привязки анкеров, мм | а1 | 120 | |
| Привязки анкеров, мм | а2 | 40 | |
| Привязки анкеров, мм | b1 | 200 | |
| Количество и диаметр анкеров | 10ф12AIII | ||
| Длина анкеров, мм | L | 270 | |
| Выборка стали на 1 изделие (профильная сталь), кг | -б=8 | 12.6 | |
| Выборка стали на 1 изделие (арм. A3 ф12), кг | 2.4 | ||
| Итого, кг | 15 | ||
| Обозначение детали | 1.400-15.B1.140-20 |
Изделие закладное МН 130-4
![]() |
Параметр | Обозначение | Значение |
| Размер пластины, мм | А | 200 | |
| Размер пластины, мм | B | п.м. | |
| Размер пластины, мм | б | 8 | |
| Привязки анкеров, мм | а1 | 120 | |
| Привязки анкеров, мм | а2 | 40 | |
| Привязки анкеров, мм | b1 | 200 | |
| Количество и диаметр анкеров | 10ф12AIII | ||
| Длина анкеров, мм | L | 470 | |
| Размеры пластин усиления и кол-во, мм | 50х50х10 (шт.10) | ||
| Выборка стали на 1 изделие (профильная сталь), кг | -б=8 | 12.6 | |
| Выборка стали на 1 изделие (профильная сталь), кг | -б=10 | 2 | |
| Выборка стали на 1 изделие (арм. A3 ф12), кг | 4.2 | ||
| Итого, кг | 18.8 | ||
| Обозначение детали | 1.400-15.B1.140-21 |
Изделие закладное МН 130-5
![]() |
Параметр | Обозначение | Значение |
| Размер пластины, мм | А | 200 | |
| Размер пластины, мм | B | п.м. | |
| Размер пластины, мм | б | 8 | |
| Привязки анкеров, мм | а1 | 120 | |
| Привязки анкеров, мм | а2 | 40 | |
| Привязки анкеров, мм | b1 | 200 | |
| Количество и диаметр анкеров | 10ф12AIII | ||
| Длина анкеров, мм | L | 370 | |
| Размеры пластин усиления и кол-во, мм | 50х50х10 (шт.10) | ||
| Выборка стали на 1 изделие (профильная сталь), кг | -б=8 | 12.6 | |
| Выборка стали на 1 изделие (профильная сталь), кг | -б=10 | 2 | |
| Выборка стали на 1 изделие (арм. A3 ф12), кг | 3.3 | ||
| Итого, кг | 17.9 | ||
| Обозначение детали | 1.400-15.B1.140-22 |
Изделие закладное МН 130-6
![]() |
Параметр | Обозначение | Значение |
| Размер пластины, мм | А | 200 | |
| Размер пластины, мм | B | п.м. | |
| Размер пластины, мм | б | 8 | |
| Привязки анкеров, мм | а1 | 120 | |
| Привязки анкеров, мм | а2 | 40 | |
| Привязки анкеров, мм | b1 | 200 | |
| Количество и диаметр анкеров | 10ф12AIII | ||
| Длина анкеров, мм | L | 170 | |
| Размеры пластин усиления и кол-во, мм | 50х50х10 (шт.10) | ||
| Выборка стали на 1 изделие (профильная сталь), кг | -б=8 | 12.6 | |
| Выборка стали на 1 изделие (профильная сталь), кг | -б=10 | 2 | |
| Выборка стали на 1 изделие (арм. A3 ф12), кг | 1.5 | ||
| Итого, кг | 16.1 | ||
| Обозначение детали | 1.400-15.B1.140-23 |

