Закладные изделия МН 143 по серии 1.400-15 выпуск 1
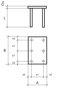
Изделие закладное МН 143-1
![]() |
Параметр | Обозначение | Значение |
| Размер пластины, мм | А | 250 | |
| Размер пластины, мм | B | 500 | |
| Размер пластины, мм | б | 8 | |
| Привязки анкеров, мм | а1 | 180 | |
| Привязки анкеров, мм | а2 | 35 | |
| Привязки анкеров, мм | b1 | 210 | |
| Привязки анкеров, мм | b2 | 40 | |
| Количество и диаметр анкеров | 6ф10AIII | ||
| Длина анкеров, мм | L | 370 | |
| Выборка стали на 1 изделие (профильная сталь), кг | -б=8 | 7.9 | |
| Выборка стали на 1 изделие (арм. A3 ф10), кг | 1.4 | ||
| Итого, кг | 9.3 | ||
| Обозначение детали | 1.400-15.B1.150-60 |
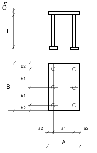
Изделие закладное МН 143-2
![]() |
Параметр | Обозначение | Значение |
| Размер пластины, мм | А | 250 | |
| Размер пластины, мм | B | 500 | |
| Размер пластины, мм | б | 8 | |
| Привязки анкеров, мм | а1 | 180 | |
| Привязки анкеров, мм | а2 | 35 | |
| Привязки анкеров, мм | b1 | 210 | |
| Привязки анкеров, мм | b2 | 40 | |
| Количество и диаметр анкеров | 6ф10AIII | ||
| Длина анкеров, мм | L | 270 | |
| Выборка стали на 1 изделие (профильная сталь), кг | -б=8 | 7.9 | |
| Выборка стали на 1 изделие (арм. A3 ф10), кг | 1 | ||
| Итого, кг | 8.9 | ||
| Обозначение детали | 1.400-15.B1.150-61 |
Изделие закладное МН 143-3
![]() |
Параметр | Обозначение | Значение |
| Размер пластины, мм | А | 250 | |
| Размер пластины, мм | B | 500 | |
| Размер пластины, мм | б | 8 | |
| Привязки анкеров, мм | а1 | 180 | |
| Привязки анкеров, мм | а2 | 35 | |
| Привязки анкеров, мм | b1 | 210 | |
| Привязки анкеров, мм | b2 | 40 | |
| Количество и диаметр анкеров | 6ф10AIII | ||
| Длина анкеров, мм | L | 220 | |
| Выборка стали на 1 изделие (профильная сталь), кг | -б=8 | 7.9 | |
| Выборка стали на 1 изделие (арм. A3 ф10), кг | 0.8 | ||
| Итого, кг | 8.7 | ||
| Обозначение детали | 1.400-15.B1.150-62 |
Изделие закладное МН 143-4
![]() |
Параметр | Обозначение | Значение |
| Размер пластины, мм | А | 250 | |
| Размер пластины, мм | B | 500 | |
| Размер пластины, мм | б | 8 | |
| Привязки анкеров, мм | а1 | 180 | |
| Привязки анкеров, мм | а2 | 35 | |
| Привязки анкеров, мм | b1 | 210 | |
| Привязки анкеров, мм | b2 | 40 | |
| Количество и диаметр анкеров | 6ф10AIII | ||
| Длина анкеров, мм | L | 370 | |
| Размеры пластин усиления и кол-во, мм | 40х40х8 (шт.6) | ||
| Выборка стали на 1 изделие (профильная сталь), кг | -б=8 | 8.5 | |
| Выборка стали на 1 изделие (арм. A3 ф10), кг | 1.4 | ||
| Итого, кг | 9.9 | ||
| Обозначение детали | 1.400-15.B1.150-63 |
Изделие закладное МН 143-5
![]() |
Параметр | Обозначение | Значение |
| Размер пластины, мм | А | 250 | |
| Размер пластины, мм | B | 500 | |
| Размер пластины, мм | б | 8 | |
| Привязки анкеров, мм | а1 | 180 | |
| Привязки анкеров, мм | а2 | 35 | |
| Привязки анкеров, мм | b1 | 210 | |
| Привязки анкеров, мм | b2 | 40 | |
| Количество и диаметр анкеров | 6ф10AIII | ||
| Длина анкеров, мм | L | 270 | |
| Размеры пластин усиления и кол-во, мм | 40х40х8 (шт.6) | ||
| Выборка стали на 1 изделие (профильная сталь), кг | -б=8 | 8.5 | |
| Выборка стали на 1 изделие (арм. A3 ф10), кг | 1 | ||
| Итого, кг | 9.5 | ||
| Обозначение детали | 1.400-15.B1.150-64 |
Изделие закладное МН 143-6
![]() |
Параметр | Обозначение | Значение |
| Размер пластины, мм | А | 250 | |
| Размер пластины, мм | B | 500 | |
| Размер пластины, мм | б | 8 | |
| Привязки анкеров, мм | а1 | 180 | |
| Привязки анкеров, мм | а2 | 35 | |
| Привязки анкеров, мм | b1 | 210 | |
| Привязки анкеров, мм | b2 | 40 | |
| Количество и диаметр анкеров | 6ф10AIII | ||
| Длина анкеров, мм | L | 120 | |
| Размеры пластин усиления и кол-во, мм | 40х40х8 (шт.6) | ||
| Выборка стали на 1 изделие (профильная сталь), кг | -б=8 | 8.5 | |
| Выборка стали на 1 изделие (арм. A3 ф10), кг | 0.4 | ||
| Итого, кг | 8.9 | ||
| Обозначение детали | 1.400-15.B1.150-65 |

