Закладные изделия МН 136 по серии 1.400-15 выпуск 1
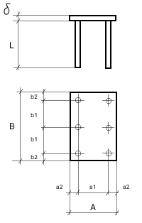
Изделие закладное МН 136-1
![]() |
Параметр | Обозначение | Значение |
| Размер пластины, мм | А | 200 | |
| Размер пластины, мм | B | 250 | |
| Размер пластины, мм | б | 10 | |
| Привязки анкеров, мм | а1 | 120 | |
| Привязки анкеров, мм | а2 | 40 | |
| Привязки анкеров, мм | b1 | 90 | |
| Привязки анкеров, мм | b2 | 35 | |
| Количество и диаметр анкеров | 6ф14AIII | ||
| Длина анкеров, мм | L | 540 | |
| Выборка стали на 1 изделие (профильная сталь), кг | -б=10 | 3.9 | |
| Выборка стали на 1 изделие (арм. A3 ф14), кг | 3.9 | ||
| Итого, кг | 7.8 | ||
| Обозначение детали | 1.400-15.B1.150-18 |
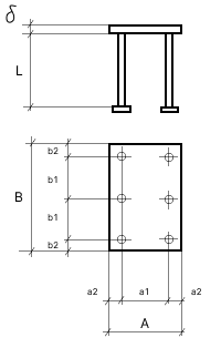
Изделие закладное МН 136-2
![]() |
Параметр | Обозначение | Значение |
| Размер пластины, мм | А | 200 | |
| Размер пластины, мм | B | 250 | |
| Размер пластины, мм | б | 10 | |
| Привязки анкеров, мм | а1 | 120 | |
| Привязки анкеров, мм | а2 | 40 | |
| Привязки анкеров, мм | b1 | 90 | |
| Привязки анкеров, мм | b2 | 35 | |
| Количество и диаметр анкеров | 6ф14AIII | ||
| Длина анкеров, мм | L | 420 | |
| Выборка стали на 1 изделие (профильная сталь), кг | -б=10 | 3.9 | |
| Выборка стали на 1 изделие (арм. A3 ф14), кг | 3.1 | ||
| Итого, кг | 7 | ||
| Обозначение детали | 1.400-15.B1.150-19 |
Изделие закладное МН 136-3
![]() |
Параметр | Обозначение | Значение |
| Размер пластины, мм | А | 200 | |
| Размер пластины, мм | B | 250 | |
| Размер пластины, мм | б | 10 | |
| Привязки анкеров, мм | а1 | 120 | |
| Привязки анкеров, мм | а2 | 40 | |
| Привязки анкеров, мм | b1 | 90 | |
| Привязки анкеров, мм | b2 | 35 | |
| Количество и диаметр анкеров | 6ф14AIII | ||
| Длина анкеров, мм | L | 320 | |
| Выборка стали на 1 изделие (профильная сталь), кг | -б=10 | 3.9 | |
| Выборка стали на 1 изделие (арм. A3 ф14), кг | 2.3 | ||
| Итого, кг | 6.2 | ||
| Обозначение детали | 1.400-15.B1.150-20 |
Изделие закладное МН 136-4
![]() |
Параметр | Обозначение | Значение |
| Размер пластины, мм | А | 200 | |
| Размер пластины, мм | B | 250 | |
| Размер пластины, мм | б | 10 | |
| Привязки анкеров, мм | а1 | 120 | |
| Привязки анкеров, мм | а2 | 40 | |
| Привязки анкеров, мм | b1 | 90 | |
| Привязки анкеров, мм | b2 | 35 | |
| Количество и диаметр анкеров | 6ф14AIII | ||
| Длина анкеров, мм | L | 540 | |
| Размеры пластин усиления и кол-во, мм | 50х50х10 (шт.6) | ||
| Выборка стали на 1 изделие (профильная сталь), кг | -б=10 | 5.1 | |
| Выборка стали на 1 изделие (арм. A3 ф14), кг | 3.9 | ||
| Итого, кг | 9 | ||
| Обозначение детали | 1.400-15.B1.150-21 |
Изделие закладное МН 136-5
![]() |
Параметр | Обозначение | Значение |
| Размер пластины, мм | А | 200 | |
| Размер пластины, мм | B | 250 | |
| Размер пластины, мм | б | 10 | |
| Привязки анкеров, мм | а1 | 120 | |
| Привязки анкеров, мм | а2 | 40 | |
| Привязки анкеров, мм | b1 | 90 | |
| Привязки анкеров, мм | b2 | 35 | |
| Количество и диаметр анкеров | 6ф14AIII | ||
| Длина анкеров, мм | L | 420 | |
| Размеры пластин усиления и кол-во, мм | 50х50х10 (шт.6) | ||
| Выборка стали на 1 изделие (профильная сталь), кг | -б=10 | 5.1 | |
| Выборка стали на 1 изделие (арм. A3 ф14), кг | 3.1 | ||
| Итого, кг | 8.2 | ||
| Обозначение детали | 1.400-15.B1.150-22 |
Изделие закладное МН 136-6
![]() |
Параметр | Обозначение | Значение |
| Размер пластины, мм | А | 200 | |
| Размер пластины, мм | B | 250 | |
| Размер пластины, мм | б | 10 | |
| Привязки анкеров, мм | а1 | 120 | |
| Привязки анкеров, мм | а2 | 40 | |
| Привязки анкеров, мм | b1 | 90 | |
| Привязки анкеров, мм | b2 | 35 | |
| Количество и диаметр анкеров | 6ф14AIII | ||
| Длина анкеров, мм | L | 170 | |
| Размеры пластин усиления и кол-во, мм | 50х50х10 (шт.6) | ||
| Выборка стали на 1 изделие (профильная сталь), кг | -б=10 | 5.1 | |
| Выборка стали на 1 изделие (арм. A3 ф14), кг | 1.3 | ||
| Итого, кг | 6.4 | ||
| Обозначение детали | 1.400-15.B1.150-23 |

