Закладные изделия МН 138 по серии 1.400-15 выпуск 1
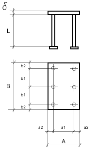
Изделие закладное МН 138-1
![]() |
Параметр | Обозначение | Значение |
| Размер пластины, мм | А | 200 | |
| Размер пластины, мм | B | 300 | |
| Размер пластины, мм | б | 12 | |
| Привязки анкеров, мм | а1 | 120 | |
| Привязки анкеров, мм | а2 | 40 | |
| Привязки анкеров, мм | b1 | 110 | |
| Привязки анкеров, мм | b2 | 40 | |
| Количество и диаметр анкеров | 6ф16AIII | ||
| Длина анкеров, мм | L | 620 | |
| Выборка стали на 1 изделие (профильная сталь), кг | -б=12 | 5.7 | |
| Выборка стали на 1 изделие (арм. A3 ф16), кг | 5.9 | ||
| Итого, кг | 11.6 | ||
| Обозначение детали | 1.400-15.B1.150-30 |
Изделие закладное МН 138-2
![]() |
Параметр | Обозначение | Значение |
| Размер пластины, мм | А | 200 | |
| Размер пластины, мм | B | 300 | |
| Размер пластины, мм | б | 12 | |
| Привязки анкеров, мм | а1 | 120 | |
| Привязки анкеров, мм | а2 | 40 | |
| Привязки анкеров, мм | b1 | 110 | |
| Привязки анкеров, мм | b2 | 40 | |
| Количество и диаметр анкеров | 6ф16AIII | ||
| Длина анкеров, мм | L | 460 | |
| Выборка стали на 1 изделие (профильная сталь), кг | -б=12 | 5.7 | |
| Выборка стали на 1 изделие (арм. A3 ф16), кг | 4.4 | ||
| Итого, кг | 10.1 | ||
| Обозначение детали | 1.400-15.B1.150-31 |
Изделие закладное МН 138-3
![]() |
Параметр | Обозначение | Значение |
| Размер пластины, мм | А | 200 | |
| Размер пластины, мм | B | 300 | |
| Размер пластины, мм | б | 12 | |
| Привязки анкеров, мм | а1 | 120 | |
| Привязки анкеров, мм | а2 | 40 | |
| Привязки анкеров, мм | b1 | 110 | |
| Привязки анкеров, мм | b2 | 40 | |
| Количество и диаметр анкеров | 6ф16AIII | ||
| Длина анкеров, мм | L | 370 | |
| Выборка стали на 1 изделие (профильная сталь), кг | -б=12 | 5.7 | |
| Выборка стали на 1 изделие (арм. A3 ф16), кг | 3.5 | ||
| Итого, кг | 9.2 | ||
| Обозначение детали | 1.400-15.B1.150-32 |
Изделие закладное МН 138-4
![]() |
Параметр | Обозначение | Значение |
| Размер пластины, мм | А | 200 | |
| Размер пластины, мм | B | 300 | |
| Размер пластины, мм | б | 12 | |
| Привязки анкеров, мм | а1 | 120 | |
| Привязки анкеров, мм | а2 | 40 | |
| Привязки анкеров, мм | b1 | 110 | |
| Привязки анкеров, мм | b2 | 40 | |
| Количество и диаметр анкеров | 6ф16AIII | ||
| Длина анкеров, мм | L | 620 | |
| Размеры пластин усиления и кол-во, мм | 60х60х12 (шт.6) | ||
| Выборка стали на 1 изделие (профильная сталь), кг | -б=12 | 7.7 | |
| Выборка стали на 1 изделие (арм. A3 ф16), кг | 5.9 | ||
| Итого, кг | 13.6 | ||
| Обозначение детали | 1.400-15.B1.150-33 |
Изделие закладное МН 138-5
![]() |
Параметр | Обозначение | Значение |
| Размер пластины, мм | А | 200 | |
| Размер пластины, мм | B | 300 | |
| Размер пластины, мм | б | 12 | |
| Привязки анкеров, мм | а1 | 120 | |
| Привязки анкеров, мм | а2 | 40 | |
| Привязки анкеров, мм | b1 | 110 | |
| Привязки анкеров, мм | b2 | 40 | |
| Количество и диаметр анкеров | 6ф16AIII | ||
| Длина анкеров, мм | L | 460 | |
| Размеры пластин усиления и кол-во, мм | 60х60х12 (шт.6) | ||
| Выборка стали на 1 изделие (профильная сталь), кг | -б=12 | 7.7 | |
| Выборка стали на 1 изделие (арм. A3 ф16), кг | 4.4 | ||
| Итого, кг | 12.1 | ||
| Обозначение детали | 1.400-15.B1.150-34 |
Изделие закладное МН 138-6
![]() |
Параметр | Обозначение | Значение |
| Размер пластины, мм | А | 200 | |
| Размер пластины, мм | B | 300 | |
| Размер пластины, мм | б | 12 | |
| Привязки анкеров, мм | а1 | 120 | |
| Привязки анкеров, мм | а2 | 40 | |
| Привязки анкеров, мм | b1 | 110 | |
| Привязки анкеров, мм | b2 | 40 | |
| Количество и диаметр анкеров | 6ф16AIII | ||
| Длина анкеров, мм | L | 210 | |
| Размеры пластин усиления и кол-во, мм | 60х60х12 (шт.6) | ||
| Выборка стали на 1 изделие (профильная сталь), кг | -б=12 | 7.7 | |
| Выборка стали на 1 изделие (арм. A3 ф16), кг | 2 | ||
| Итого, кг | 9.7 | ||
| Обозначение детали | 1.400-15.B1.150-35 |

