Закладные изделия МН 142 по серии 1.400-15 выпуск 1
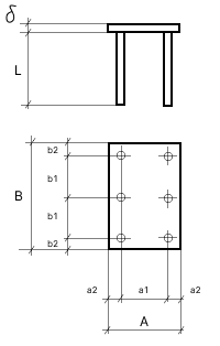
Изделие закладное МН 142-1
![]() |
Параметр | Обозначение | Значение |
| Размер пластины, мм | А | 250 | |
| Размер пластины, мм | B | 400 | |
| Размер пластины, мм | б | 8 | |
| Привязки анкеров, мм | а1 | 180 | |
| Привязки анкеров, мм | а2 | 35 | |
| Привязки анкеров, мм | b1 | 160 | |
| Привязки анкеров, мм | b2 | 40 | |
| Количество и диаметр анкеров | 6ф10AIII | ||
| Длина анкеров, мм | L | 370 | |
| Выборка стали на 1 изделие (профильная сталь), кг | -б=8 | 6.3 | |
| Выборка стали на 1 изделие (арм. A3 ф10), кг | 1.4 | ||
| Итого, кг | 7.7 | ||
| Обозначение детали | 1.400-15.B1.150-54 |
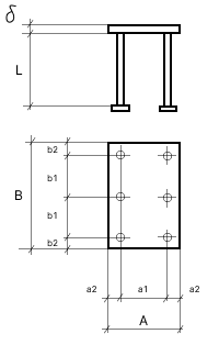
Изделие закладное МН 142-2
![]() |
Параметр | Обозначение | Значение |
| Размер пластины, мм | А | 250 | |
| Размер пластины, мм | B | 400 | |
| Размер пластины, мм | б | 8 | |
| Привязки анкеров, мм | а1 | 180 | |
| Привязки анкеров, мм | а2 | 35 | |
| Привязки анкеров, мм | b1 | 160 | |
| Привязки анкеров, мм | b2 | 40 | |
| Количество и диаметр анкеров | 6ф10AIII | ||
| Длина анкеров, мм | L | 270 | |
| Выборка стали на 1 изделие (профильная сталь), кг | -б=8 | 6.3 | |
| Выборка стали на 1 изделие (арм. A3 ф10), кг | 1 | ||
| Итого, кг | 7.3 | ||
| Обозначение детали | 1.400-15.B1.150-55 |
Изделие закладное МН 142-3
![]() |
Параметр | Обозначение | Значение |
| Размер пластины, мм | А | 250 | |
| Размер пластины, мм | B | 400 | |
| Размер пластины, мм | б | 8 | |
| Привязки анкеров, мм | а1 | 180 | |
| Привязки анкеров, мм | а2 | 35 | |
| Привязки анкеров, мм | b1 | 160 | |
| Привязки анкеров, мм | b2 | 40 | |
| Количество и диаметр анкеров | 6ф10AIII | ||
| Длина анкеров, мм | L | 220 | |
| Выборка стали на 1 изделие (профильная сталь), кг | -б=8 | 6.3 | |
| Выборка стали на 1 изделие (арм. A3 ф10), кг | 0.8 | ||
| Итого, кг | 7.1 | ||
| Обозначение детали | 1.400-15.B1.150-56 |
Изделие закладное МН 142-4
![]() |
Параметр | Обозначение | Значение |
| Размер пластины, мм | А | 250 | |
| Размер пластины, мм | B | 400 | |
| Размер пластины, мм | б | 8 | |
| Привязки анкеров, мм | а1 | 180 | |
| Привязки анкеров, мм | а2 | 35 | |
| Привязки анкеров, мм | b1 | 160 | |
| Привязки анкеров, мм | b2 | 40 | |
| Количество и диаметр анкеров | 6ф10AIII | ||
| Длина анкеров, мм | L | 370 | |
| Размеры пластин усиления и кол-во, мм | 40х40х8 (шт.6) | ||
| Выборка стали на 1 изделие (профильная сталь), кг | -б=8 | 6.9 | |
| Выборка стали на 1 изделие (арм. A3 ф10), кг | 1.4 | ||
| Итого, кг | 8.3 | ||
| Обозначение детали | 1.400-15.B1.150-57 |
Изделие закладное МН 142-5
![]() |
Параметр | Обозначение | Значение |
| Размер пластины, мм | А | 250 | |
| Размер пластины, мм | B | 400 | |
| Размер пластины, мм | б | 8 | |
| Привязки анкеров, мм | а1 | 180 | |
| Привязки анкеров, мм | а2 | 35 | |
| Привязки анкеров, мм | b1 | 160 | |
| Привязки анкеров, мм | b2 | 40 | |
| Количество и диаметр анкеров | 6ф10AIII | ||
| Длина анкеров, мм | L | 270 | |
| Размеры пластин усиления и кол-во, мм | 40х40х8 (шт.6) | ||
| Выборка стали на 1 изделие (профильная сталь), кг | -б=8 | 6.9 | |
| Выборка стали на 1 изделие (арм. A3 ф10), кг | 1 | ||
| Итого, кг | 7.9 | ||
| Обозначение детали | 1.400-15.B1.150-58 |
Изделие закладное МН 142-6
![]() |
Параметр | Обозначение | Значение |
| Размер пластины, мм | А | 250 | |
| Размер пластины, мм | B | 400 | |
| Размер пластины, мм | б | 8 | |
| Привязки анкеров, мм | а1 | 180 | |
| Привязки анкеров, мм | а2 | 35 | |
| Привязки анкеров, мм | b1 | 160 | |
| Привязки анкеров, мм | b2 | 40 | |
| Количество и диаметр анкеров | 6ф10AIII | ||
| Длина анкеров, мм | L | 120 | |
| Размеры пластин усиления и кол-во, мм | 40х40х8 (шт.6) | ||
| Выборка стали на 1 изделие (профильная сталь), кг | -б=8 | 6.9 | |
| Выборка стали на 1 изделие (арм. A3 ф10), кг | 0.4 | ||
| Итого, кг | 7.3 | ||
| Обозначение детали | 1.400-15.B1.150-59 |

