Закладные изделия МН 132 по серии 1.400-15 выпуск 1
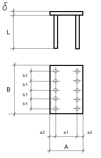
Изделие закладное МН 132-1
![]() |
Параметр | Обозначение | Значение |
| Размер пластины, мм | А | 250 | |
| Размер пластины, мм | B | п.м. | |
| Размер пластины, мм | б | 8 | |
| а1 | 180 | ||
| Привязки анкеров, мм | а2 | 35 | |
| Привязки анкеров, мм | b1 | 200 | |
| Количество и диаметр анкеров | 10ф12AIII | ||
| Длина анкеров, мм | L | 470 | |
| Выборка стали на 1 изделие (профильная сталь), кг | -б=8 | 15.7 | |
| Выборка стали на 1 изделие (арм. A3 ф12), кг | 4.2 | ||
| Итого, кг | 19.9 | ||
| Обозначение детали | 1.400-15.B1.140-30 |
Изделие закладное МН 132-2
![]() |
Параметр | Обозначение | Значение |
| Размер пластины, мм | А | 250 | |
| Размер пластины, мм | B | п.м. | |
| Размер пластины, мм | б | 8 | |
| Привязки анкеров, мм | а1 | 180 | |
| Привязки анкеров, мм | а2 | 35 | |
| Привязки анкеров, мм | b1 | 200 | |
| Количество и диаметр анкеров | 10ф12AIII | ||
| Длина анкеров, мм | L | 370 | |
| Выборка стали на 1 изделие (профильная сталь), кг | -б=8 | 15.7 | |
| Выборка стали на 1 изделие (арм. A3 ф12), кг | 3.3 | ||
| Итого, кг | 19 | ||
| Обозначение детали | 1.400-15.B1.140-31 |
Изделие закладное МН 132-3
![]() |
Параметр | Обозначение | Значение |
| Размер пластины, мм | А | 250 | |
| Размер пластины, мм | B | п.м. | |
| Размер пластины, мм | б | 8 | |
| Привязки анкеров, мм | а1 | 180 | |
| Привязки анкеров, мм | а2 | 35 | |
| Привязки анкеров, мм | b1 | 200 | |
| Количество и диаметр анкеров | 10ф12AIII | ||
| Длина анкеров, мм | L | 270 | |
| Выборка стали на 1 изделие (профильная сталь), кг | -б=8 | 15.7 | |
| Выборка стали на 1 изделие (арм. A3 ф12), кг | 2.4 | ||
| Итого, кг | 18.1 | ||
| Обозначение детали | 1.400-15.B1.140-32 |
Изделие закладное МН 132-4
![]() |
Параметр | Обозначение | Значение |
| Размер пластины, мм | А | 250 | |
| Размер пластины, мм | B | п.м. | |
| Размер пластины, мм | б | 8 | |
| Привязки анкеров, мм | а1 | 180 | |
| Привязки анкеров, мм | а2 | 35 | |
| Привязки анкеров, мм | b1 | 200 | |
| Количество и диаметр анкеров | 10ф12AIII | ||
| Длина анкеров, мм | L | 470 | |
| Размеры пластин усиления и кол-во, мм | 50х50х10 (шт.10) | ||
| Выборка стали на 1 изделие (профильная сталь), кг | -б=8 | 15.7 | |
| Выборка стали на 1 изделие (профильная сталь), кг | -б=10 | 2 | |
| Выборка стали на 1 изделие (арм. A3 ф12), кг | 4.2 | ||
| Итого, кг | 21.9 | ||
| Обозначение детали | 1.400-15.B1.140-33 |
Изделие закладное МН 132-5
![]() |
Параметр | Обозначение | Значение |
| Размер пластины, мм | А | 250 | |
| Размер пластины, мм | B | п.м. | |
| Размер пластины, мм | б | 8 | |
| Привязки анкеров, мм | а1 | 180 | |
| Привязки анкеров, мм | а2 | 35 | |
| Привязки анкеров, мм | b1 | 200 | |
| Количество и диаметр анкеров | 10ф12AIII | ||
| Длина анкеров, мм | L | 370 | |
| Размеры пластин усиления и кол-во, мм | 50х50х10 (шт.10) | ||
| Выборка стали на 1 изделие (профильная сталь), кг | -б=8 | 15.7 | |
| Выборка стали на 1 изделие (профильная сталь), кг | -б=10 | 2 | |
| Выборка стали на 1 изделие (арм. A3 ф12), кг | 3.3 | ||
| Итого, кг | 21 | ||
| Обозначение детали | 1.400-15.B1.140-34 |
Изделие закладное МН 132-6
![]() |
Параметр | Обозначение | Значение |
| Размер пластины, мм | А | 250 | |
| Размер пластины, мм | B | п.м. | |
| Размер пластины, мм | б | 8 | |
| Привязки анкеров, мм | а1 | 180 | |
| Привязки анкеров, мм | а2 | 35 | |
| Привязки анкеров, мм | b1 | 200 | |
| Количество и диаметр анкеров | 10ф12AIII | ||
| Длина анкеров, мм | L | 170 | |
| Размеры пластин усиления и кол-во, мм | 50х50х10 (шт.10) | ||
| Выборка стали на 1 изделие (профильная сталь), кг | -б=8 | 15.7 | |
| Выборка стали на 1 изделие (профильная сталь), кг | -б=10 | 2 | |
| Выборка стали на 1 изделие (арм. A3 ф12), кг | 1.5 | ||
| Итого, кг | 19.2 | ||
| Обозначение детали | 1.400-15.B1.140-35 |

