Закладные изделия МН 127 по серии 1.400-15 выпуск 1
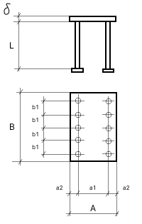
Изделие закладное МН 127-1
![]() |
Параметр | Обозначение | Значение |
| Размер пластины, мм | А | 100 | |
| Размер пластины, мм | B | п.м. | |
| Размер пластины, мм | б | 6 | |
| Привязки анкеров, мм | а1 | 60 | |
| Привязки анкеров, мм | а2 | 20 | |
| Привязки анкеров, мм | b1 | 200 | |
| Количество и диаметр анкеров | 10ф8AIII | ||
| Длина анкеров, мм | L | 300 | |
| Выборка стали на 1 изделие (профильная сталь), кг | -б=6 | 4.7 | |
| Выборка стали на 1 изделие (арм. A3 ф8), кг | 1.2 | ||
| Итого, кг | 5.9 | ||
| Обозначение детали | 1.400-15.B1.140 |
Изделие закладное МН 127-2
![]() |
Параметр | Обозначение | Значение |
| Размер пластины, мм | А | 100 | |
| Размер пластины, мм | B | п.м. | |
| Размер пластины, мм | б | 6 | |
| Привязки анкеров, мм | а1 | 60 | |
| Привязки анкеров, мм | а2 | 20 | |
| Привязки анкеров, мм | b1 | 200 | |
| Количество и диаметр анкеров | 10ф8AIII | ||
| Длина анкеров, мм | L | 250 | |
| Выборка стали на 1 изделие (профильная сталь), кг | -б=6 | 4.7 | |
| Выборка стали на 1 изделие (арм. A3 ф8), кг | 1 | ||
| Итого, кг | 5.7 | ||
| Обозначение детали | 1.400-15.B1.140-01 |
Изделие закладное МН 127-3
![]() |
Параметр | Обозначение | Значение |
| Размер пластины, мм | А | 100 | |
| Размер пластины, мм | B | п.м. | |
| Размер пластины, мм | б | 6 | |
| Привязки анкеров, мм | а1 | 60 | |
| Привязки анкеров, мм | а2 | 20 | |
| Привязки анкеров, мм | b1 | 200 | |
| Количество и диаметр анкеров | 10ф8AIII | ||
| Длина анкеров, мм | L | 200 | |
| Выборка стали на 1 изделие (профильная сталь), кг | -б=6 | 4.7 | |
| Выборка стали на 1 изделие (арм. A3 ф8), кг | 0.8 | ||
| Итого, кг | 5.5 | ||
| Обозначение детали | 1.400-15.B1.140-02 |
Изделие закладное МН 127-4
![]() |
Параметр | Обозначение | Значение |
| Размер пластины, мм | А | 100 | |
| Размер пластины, мм | B | п.м. | |
| Размер пластины, мм | б | 6 | |
| Привязки анкеров, мм | а1 | 60 | |
| Привязки анкеров, мм | а2 | 20 | |
| Привязки анкеров, мм | b1 | 200 | |
| Количество и диаметр анкеров | 10ф8AIII | ||
| Длина анкеров, мм | L | 300 | |
| Размеры пластин усиления и кол-во, мм | 40х40х8 (шт.10) | ||
| Выборка стали на 1 изделие (профильная сталь), кг | -б=6 | 4.7 | |
| Выборка стали на 1 изделие (профильная сталь), кг | -б=8 | 1 | |
| Выборка стали на 1 изделие (арм. A3 ф8), кг | 1.2 | ||
| Итого, кг | 6.9 | ||
| Обозначение детали | 1.400-15.B1.140-03 |
Изделие закладное МН 127-5
![]() |
Параметр | Обозначение | Значение |
| Размер пластины, мм | А | 100 | |
| Размер пластины, мм | B | п.м. | |
| Размер пластины, мм | б | 6 | |
| Привязки анкеров, мм | а1 | 60 | |
| Привязки анкеров, мм | а2 | 20 | |
| Привязки анкеров, мм | b1 | 200 | |
| Количество и диаметр анкеров | 10ф8AIII | ||
| Длина анкеров, мм | L | 250 | |
| Размеры пластин усиления и кол-во, мм | 40х40х8 (шт.10) | ||
| Выборка стали на 1 изделие (профильная сталь), кг | -б=6 | 4.7 | |
| Выборка стали на 1 изделие (профильная сталь), кг | -б=8 | 1 | |
| Выборка стали на 1 изделие (арм. A3 ф8), кг | 1 | ||
| Итого, кг | 6.7 | ||
| Обозначение детали | 1.400-15.B1.140-04 |
Изделие закладное МН 127-6
![]() |
Параметр | Обозначение | Значение |
| Размер пластины, мм | А | 100 | |
| Размер пластины, мм | B | п.м. | |
| Размер пластины, мм | б | 6 | |
| Привязки анкеров, мм | а1 | 60 | |
| Привязки анкеров, мм | а2 | 20 | |
| Привязки анкеров, мм | b1 | 200 | |
| Количество и диаметр анкеров | 10ф8AIII | ||
| Длина анкеров, мм | L | 80 | |
| Размеры пластин усиления и кол-во, мм | 40х40х8 (шт.10) | ||
| Выборка стали на 1 изделие (профильная сталь), кг | -б=6 | 4.7 | |
| Выборка стали на 1 изделие (профильная сталь), кг | -б=8 | 1 | |
| Выборка стали на 1 изделие (арм. A3 ф8), кг | 0.3 | ||
| Итого, кг | 6 | ||
| Обозначение детали | 1.400-15.B1.140-05 |

