Закладные изделия МН 721 по серии 1.400-15 выпуск 1
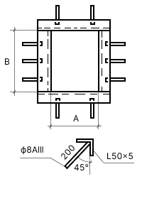
Изделие закладное МН 721-1
![]() |
Параметр | Обозначение | Значение |
| Размер, мм | А | 600 | |
| Размер, мм | В | 800 | |
| Кол-во стержней вдоль стороны А, шт | 2 | ||
| Кол-во стержней вдоль стороны В, шт | 3 | ||
| Выборка стали на 1 изделие (профильная сталь 50х5), кг | 11.3 | ||
| Выборка стали на 1 изделие (арм. AIII ф8), кг | 1 | ||
| Итого, кг | 12.3 | ||
| Обозначение детали | 1.400-15.B1.710-40 |
Изделие закладное МН 721-2
![]() |
Параметр | Обозначение | Значение |
| Размер, мм | А | 600 | |
| Размер, мм | В | 800 | |
| Кол-во стержней вдоль стороны А, шт | 2 | ||
| Кол-во стержней вдоль стороны В, шт | 3 | ||
| Выборка стали на 1 изделие (профильная сталь 50х5), кг | 11.3 | ||
| Выборка стали на 1 изделие (арм. AIII ф8), кг | 0.8 | ||
| Итого, кг | 12.1 | ||
| Обозначение детали | 1.400-15.B1.710-41 |

