Закладные изделия МН 715 по серии 1.400-15 выпуск 1
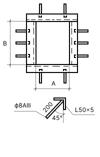
Изделие закладное МН 715-1
![]() |
Параметр | Обозначение | Значение |
| Размер, мм | А | 500 | |
| Размер, мм | В | 700 | |
| Кол-во стержней вдоль стороны А, шт | 2 | ||
| Кол-во стержней вдоль стороны В, шт | 3 | ||
| Выборка стали на 1 изделие (профильная сталь 50х5), кг | 9.8 | ||
| Выборка стали на 1 изделие (арм. AIII ф8), кг | 1 | ||
| Итого, кг | 10.8 | ||
| Обозначение детали | 1.400-15.B1.710-28 |
Изделие закладное МН 715-2
![]() |
Параметр | Обозначение | Значение |
| Размер, мм | А | 500 | |
| Размер, мм | В | 700 | |
| Кол-во стержней вдоль стороны А, шт | 2 | ||
| Кол-во стержней вдоль стороны В, шт | 3 | ||
| Выборка стали на 1 изделие (профильная сталь 50х5), кг | 9.8 | ||
| Выборка стали на 1 изделие (арм. AIII ф8), кг | 0.8 | ||
| Итого, кг | 10.6 | ||
| Обозначение детали | 1.400-15.B1.710-29 |

