Закладные изделия МН 702 по серии 1.400-15 выпуск 1
Изделие закладное МН 702-1
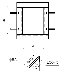
![]() |
Параметр | Обозначение | Значение |
| Размер, мм | А | 200 | |
| Размер, мм | В | 300 | |
| Кол-во стержней вдоль стороны В, шт | 2 | ||
| Выборка стали на 1 изделие (профильная сталь 50х5), кг | 5.3 | ||
| Выборка стали на 1 изделие (арм. AIII ф8), кг | 0.4 | ||
| Итого, кг | 5.7 | ||
| Обозначение детали | 1.400-15.B1.710-02 |
Изделие закладное МН 702-2
![]() |
Параметр | Обозначение | Значение |
| Размер, мм | А | 200 | |
| Размер, мм | В | 300 | |
| Кол-во стержней вдоль стороны В, шт | 2 | ||
| Выборка стали на 1 изделие (профильная сталь 50х5), кг | 5.3 | ||
| Выборка стали на 1 изделие (арм. AIII ф8), кг | 0.3 | ||
| Итого, кг | 5.6 | ||
| Обозначение детали | 1.400-15.B1.710-03 |

