Закладные изделия МН 712 по серии 1.400-15 выпуск 1
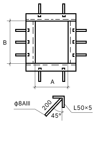
Изделие закладное МН 712-1
![]() |
Параметр | Обозначение | Значение |
| Размер, мм | А | 400 | |
| Размер, мм | В | 800 | |
| Кол-во стержней вдоль стороны А, шт | 2 | ||
| Кол-во стержней вдоль стороны В, шт | 3 | ||
| Выборка стали на 1 изделие (профильная сталь 50х5), кг | 9.8 | ||
| Выборка стали на 1 изделие (арм. AIII ф8), кг | 1 | ||
| Итого, кг | 10.8 | ||
| Обозначение детали | 1.400-15.B1.710-22 |
Изделие закладное МН 712-2
![]() |
Параметр | Обозначение | Значение |
| Размер, мм | А | 400 | |
| Размер, мм | В | 800 | |
| Кол-во стержней вдоль стороны А, шт | 2 | ||
| Кол-во стержней вдоль стороны В, шт | 3 | ||
| Выборка стали на 1 изделие (профильная сталь 50х5), кг | 9.8 | ||
| Выборка стали на 1 изделие (арм. AIII ф8), кг | 0.8 | ||
| Итого, кг | 10.6 | ||
| Обозначение детали | 1.400-15.B1.710-23 |

