Закладные изделия МН 219 по серии 1.400-15 выпуск 1
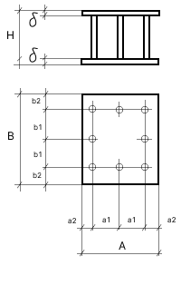
Изделие закладное МН 219-1
![]() |
Параметр | Обозначение | Значение |
| Размер пластины, мм | А | 250 | |
| Размер пластины, мм | B | 300 | |
| Размер пластины, мм | б | 10 | |
| Привязки анкеров, мм | а1 | 90 | |
| Привязки анкеров, мм | а2 | 35 | |
| Привязки анкеров, мм | b1 | 110 | |
| Привязки анкеров, мм | b2 | 40 | |
| Количество и диаметр анкеров | 8ф12AIII | ||
| Размер, мм | Н | 150 | |
| Выборка стали на 1 изделие (профильная сталь), кг | -б=10 | 11.8 | |
| Выборка стали на 1 изделие (арм. A3 ф12), кг | 1 | ||
| Итого, кг | 12.8 | ||
| Обозначение детали | 1.400-15.B1.230-05 |
Изделие закладное МН 219-2
![]() |
Параметр | Обозначение | Значение |
| Размер пластины, мм | А | 250 | |
| Размер пластины, мм | B | 300 | |
| Размер пластины, мм | б | 10 | |
| Привязки анкеров, мм | а1 | 90 | |
| Привязки анкеров, мм | а2 | 35 | |
| Привязки анкеров, мм | b1 | 110 | |
| Привязки анкеров, мм | b2 | 40 | |
| Количество и диаметр анкеров | 8ф12AIII | ||
| Размер, мм | Н | 200 | |
| Выборка стали на 1 изделие (профильная сталь), кг | -б=10 | 11.8 | |
| Выборка стали на 1 изделие (арм. A3 ф12), кг | 1.4 | ||
| Итого, кг | 13.2 | ||
| Обозначение детали | 1.400-15.B1.230-06 |
Изделие закладное МН 219-3
![]() |
Параметр | Обозначение | Значение |
| Размер пластины, мм | А | 250 | |
| Размер пластины, мм | B | 300 | |
| Размер пластины, мм | б | 10 | |
| Привязки анкеров, мм | а1 | 90 | |
| Привязки анкеров, мм | а2 | 35 | |
| Привязки анкеров, мм | b1 | 110 | |
| Привязки анкеров, мм | b2 | 40 | |
| Количество и диаметр анкеров | 8ф12AIII | ||
| Размер, мм | Н | 250 | |
| Выборка стали на 1 изделие (профильная сталь), кг | -б=10 | 11.8 | |
| Выборка стали на 1 изделие (арм. A3 ф12), кг | 1.7 | ||
| Итого, кг | 13.5 | ||
| Обозначение детали | 1.400-15.B1.230-07 |
Изделие закладное МН 219-4
![]() |
Параметр | Обозначение | Значение |
| Размер пластины, мм | А | 250 | |
| Размер пластины, мм | B | 300 | |
| Размер пластины, мм | б | 10 | |
| Привязки анкеров, мм | а1 | 90 | |
| Привязки анкеров, мм | а2 | 35 | |
| Привязки анкеров, мм | b1 | 110 | |
| Привязки анкеров, мм | b2 | 40 | |
| Количество и диаметр анкеров | 8ф12AIII | ||
| Размер, мм | Н | 300 | |
| Выборка стали на 1 изделие (профильная сталь), кг | -б=10 | 11.8 | |
| Выборка стали на 1 изделие (арм. A3 ф12), кг | 2.1 | ||
| Итого, кг | 13.9 | ||
| Обозначение детали | 1.400-15.B1.230-08 |
Изделие закладное МН 219-5
![]() |
Параметр | Обозначение | Значение |
| Размер пластины, мм | А | 250 | |
| Размер пластины, мм | B | 300 | |
| Размер пластины, мм | б | 10 | |
| Привязки анкеров, мм | а1 | 90 | |
| Привязки анкеров, мм | а2 | 35 | |
| Привязки анкеров, мм | b1 | 110 | |
| Привязки анкеров, мм | b2 | 40 | |
| Количество и диаметр анкеров | 8ф12AIII | ||
| Размер, мм | Н | 400 | |
| Выборка стали на 1 изделие (профильная сталь), кг | -б=10 | 11.8 | |
| Выборка стали на 1 изделие (арм. A3 ф12), кг | 2.8 | ||
| Итого, кг | 14.6 | ||
| Обозначение детали | 1.400-15.B1.230-09 |
