Закладные изделия МН 210 по серии 1.400-15 выпуск 1
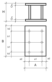
Изделие закладное МН 210-1
![]() |
Параметр | Обозначение | Значение |
| Размер пластины, мм | А | 150 | |
| Размер пластины, мм | B | 300 | |
| Размер пластины, мм | б | 10 | |
| Привязки анкеров, мм | а1 | 90 | |
| Привязки анкеров, мм | а2 | 30 | |
| Привязки анкеров, мм | b1 | 110 | |
| Привязки анкеров, мм | b2 | 40 | |
| Количество и диаметр анкеров | 6ф12AIII | ||
| Размер, мм | Н | 150 | |
| Выборка стали на 1 изделие (профильная сталь), кг | -б=10 | 7 | |
| Выборка стали на 1 изделие (арм. A3 ф12), кг | 0.8 | ||
| Итого, кг | 7.8 | ||
| Обозначение детали | 1.400-15.B1.220 |
Изделие закладное МН 210-2
![]() |
Параметр | Обозначение | Значение |
| Размер пластины, мм | А | 150 | |
| Размер пластины, мм | B | 300 | |
| Размер пластины, мм | б | 10 | |
| Привязки анкеров, мм | а1 | 90 | |
| Привязки анкеров, мм | а2 | 30 | |
| Привязки анкеров, мм | b1 | 110 | |
| Привязки анкеров, мм | b2 | 40 | |
| Количество и диаметр анкеров | 6ф12AIII | ||
| Размер, мм | Н | 200 | |
| Выборка стали на 1 изделие (профильная сталь), кг | -б=10 | 7 | |
| Выборка стали на 1 изделие (арм. A3 ф12), кг | 1 | ||
| Итого, кг | 8 | ||
| Обозначение детали | 1.400-15.B1.220-01 |
Изделие закладное МН 210-3
![]() |
Параметр | Обозначение | Значение |
| Размер пластины, мм | А | 150 | |
| Размер пластины, мм | B | 300 | |
| Размер пластины, мм | б | 10 | |
| Привязки анкеров, мм | а1 | 90 | |
| Привязки анкеров, мм | а2 | 30 | |
| Привязки анкеров, мм | b1 | 110 | |
| Привязки анкеров, мм | b2 | 40 | |
| Количество и диаметр анкеров | 6ф12AIII | ||
| Размер, мм | Н | 250 | |
| Выборка стали на 1 изделие (профильная сталь), кг | -б=10 | 7 | |
| Выборка стали на 1 изделие (арм. A3 ф12), кг | 1.3 | ||
| Итого, кг | 8.3 | ||
| Обозначение детали | 1.400-15.B1.220-02 |
Изделие закладное МН 210-4
![]() |
Параметр | Обозначение | Значение |
| Размер пластины, мм | А | 150 | |
| Размер пластины, мм | B | 300 | |
| Размер пластины, мм | б | 10 | |
| Привязки анкеров, мм | а1 | 90 | |
| Привязки анкеров, мм | а2 | 30 | |
| Привязки анкеров, мм | b1 | 110 | |
| Привязки анкеров, мм | b2 | 40 | |
| Количество и диаметр анкеров | 6ф12AIII | ||
| Размер, мм | Н | 300 | |
| Выборка стали на 1 изделие (профильная сталь), кг | -б=10 | 7 | |
| Выборка стали на 1 изделие (арм. A3 ф12), кг | 1.6 | ||
| Итого, кг | 8.6 | ||
| Обозначение детали | 1.400-15.B1.220-03 |
Изделие закладное МН 210-5
![]() |
Параметр | Обозначение | Значение |
| Размер пластины, мм | А | 150 | |
| Размер пластины, мм | B | 300 | |
| Размер пластины, мм | б | 10 | |
| Привязки анкеров, мм | а1 | 90 | |
| Привязки анкеров, мм | а2 | 30 | |
| Привязки анкеров, мм | b1 | 110 | |
| Привязки анкеров, мм | b2 | 40 | |
| Количество и диаметр анкеров | 6ф12AIII | ||
| Размер, мм | Н | 400 | |
| Выборка стали на 1 изделие (профильная сталь), кг | -б=10 | 7 | |
| Выборка стали на 1 изделие (арм. A3 ф12), кг | 2.1 | ||
| Итого, кг | 9.1 | ||
| Обозначение детали | 1.400-15.B1.220-04 |
