Закладные изделия МН 218 по серии 1.400-15 выпуск 1
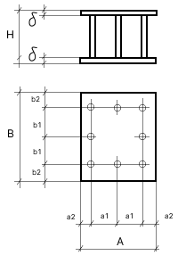
Изделие закладное МН 218-1
![]() |
Параметр | Обозначение | Значение |
| Размер пластины, мм | А | 250 | |
| Размер пластины, мм | B | 250 | |
| Размер пластины, мм | б | 10 | |
| Привязки анкеров, мм | а1 | 90 | |
| Привязки анкеров, мм | а2 | 35 | |
| Привязки анкеров, мм | b1 | 90 | |
| Привязки анкеров, мм | b2 | 35 | |
| Количество и диаметр анкеров | 8ф12AIII | ||
| Размер, мм | Н | 150 | |
| Выборка стали на 1 изделие (профильная сталь), кг | -б=10 | 9.8 | |
| Выборка стали на 1 изделие (арм. A3 ф12), кг | 1 | ||
| Итого, кг | 10.8 | ||
| Обозначение детали | 1.400-15.B1.230 |
Изделие закладное МН 218-2
![]() |
Параметр | Обозначение | Значение |
| Размер пластины, мм | А | 250 | |
| Размер пластины, мм | B | 250 | |
| Размер пластины, мм | б | 10 | |
| Привязки анкеров, мм | а1 | 90 | |
| Привязки анкеров, мм | а2 | 35 | |
| Привязки анкеров, мм | b1 | 90 | |
| Привязки анкеров, мм | b2 | 35 | |
| Количество и диаметр анкеров | 8ф12AIII | ||
| Размер, мм | Н | 200 | |
| Выборка стали на 1 изделие (профильная сталь), кг | -б=10 | 9.8 | |
| Выборка стали на 1 изделие (арм. A3 ф12), кг | 1.4 | ||
| Итого, кг | 11.2 | ||
| Обозначение детали | 1.400-15.B1.230-01 |
Изделие закладное МН 218-3
![]() |
Параметр | Обозначение | Значение |
| Размер пластины, мм | А | 250 | |
| Размер пластины, мм | B | 250 | |
| Размер пластины, мм | б | 10 | |
| Привязки анкеров, мм | а1 | 90 | |
| Привязки анкеров, мм | а2 | 35 | |
| Привязки анкеров, мм | b1 | 90 | |
| Привязки анкеров, мм | b2 | 35 | |
| Количество и диаметр анкеров | 8ф12AIII | ||
| Размер, мм | Н | 250 | |
| Выборка стали на 1 изделие (профильная сталь), кг | -б=10 | 9.8 | |
| Выборка стали на 1 изделие (арм. A3 ф12), кг | 1.7 | ||
| Итого, кг | 11.5 | ||
| Обозначение детали | 1.400-15.B1.230-02 |
Изделие закладное МН 218-4
![]() |
Параметр | Обозначение | Значение |
| Размер пластины, мм | А | 250 | |
| Размер пластины, мм | B | 250 | |
| Размер пластины, мм | б | 10 | |
| Привязки анкеров, мм | а1 | 90 | |
| Привязки анкеров, мм | а2 | 35 | |
| Привязки анкеров, мм | b1 | 90 | |
| Привязки анкеров, мм | b2 | 35 | |
| Количество и диаметр анкеров | 8ф12AIII | ||
| Размер, мм | Н | 300 | |
| Выборка стали на 1 изделие (профильная сталь), кг | -б=10 | 9.8 | |
| Выборка стали на 1 изделие (арм. A3 ф12), кг | 2.1 | ||
| Итого, кг | 11.9 | ||
| Обозначение детали | 1.400-15.B1.230-03 |
Изделие закладное МН 218-5
![]() |
Параметр | Обозначение | Значение |
| Размер пластины, мм | А | 250 | |
| Размер пластины, мм | B | 250 | |
| Размер пластины, мм | б | 10 | |
| Привязки анкеров, мм | а1 | 90 | |
| Привязки анкеров, мм | а2 | 35 | |
| Привязки анкеров, мм | b1 | 90 | |
| Привязки анкеров, мм | b2 | 35 | |
| Количество и диаметр анкеров | 8ф12AIII | ||
| Размер, мм | Н | 400 | |
| Выборка стали на 1 изделие (профильная сталь), кг | -б=10 | 9.8 | |
| Выборка стали на 1 изделие (арм. A3 ф12), кг | 2.8 | ||
| Итого, кг | 12.6 | ||
| Обозначение детали | 1.400-15.B1.230-04 |
