Закладные изделия МН 220 по серии 1.400-15 выпуск 1
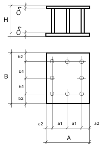
Изделие закладное МН 220-1
![]() |
Параметр | Обозначение | Значение |
| Размер пластины, мм | А | 250 | |
| Размер пластины, мм | B | 400 | |
| Размер пластины, мм | б | 8 | |
| Привязки анкеров, мм | а1 | 90 | |
| Привязки анкеров, мм | а2 | 35 | |
| Привязки анкеров, мм | b1 | 160 | |
| Привязки анкеров, мм | b2 | 40 | |
| Количество и диаметр анкеров | 8ф10AIII | ||
| Размер, мм | Н | 150 | |
| Выборка стали на 1 изделие (профильная сталь), кг | -б=8 | 12.6 | |
| Выборка стали на 1 изделие (арм. A3 ф10), кг | 0.7 | ||
| Итого, кг | 13.3 | ||
| Обозначение детали | 1.400-15.B1.230-10 |
Изделие закладное МН 220-2
![]() |
Параметр | Обозначение | Значение |
| Размер пластины, мм | А | 250 | |
| Размер пластины, мм | B | 400 | |
| Размер пластины, мм | б | 8 | |
| Привязки анкеров, мм | а1 | 90 | |
| Привязки анкеров, мм | а2 | 35 | |
| Привязки анкеров, мм | b1 | 160 | |
| Привязки анкеров, мм | b2 | 40 | |
| Количество и диаметр анкеров | 8ф10AIII | ||
| Размер, мм | Н | 200 | |
| Выборка стали на 1 изделие (профильная сталь), кг | -б=8 | 12.6 | |
| Выборка стали на 1 изделие (арм. A3 ф10), кг | 1 | ||
| Итого, кг | 13.6 | ||
| Обозначение детали | 1.400-15.B1.230-11 |
Изделие закладное МН 220-3
![]() |
Параметр | Обозначение | Значение |
| Размер пластины, мм | А | 250 | |
| Размер пластины, мм | B | 400 | |
| Размер пластины, мм | б | 8 | |
| Привязки анкеров, мм | а1 | 90 | |
| Привязки анкеров, мм | а2 | 35 | |
| Привязки анкеров, мм | b1 | 160 | |
| Привязки анкеров, мм | b2 | 40 | |
| Количество и диаметр анкеров | 8ф10AIII | ||
| Размер, мм | Н | 250 | |
| Выборка стали на 1 изделие (профильная сталь), кг | -б=8 | 12.6 | |
| Выборка стали на 1 изделие (арм. A3 ф10), кг | 1.2 | ||
| Итого, кг | 13.8 | ||
| Обозначение детали | 1.400-15.B1.230-12 |
Изделие закладное МН 220-4
![]() |
Параметр | Обозначение | Значение |
| Размер пластины, мм | А | 250 | |
| Размер пластины, мм | B | 400 | |
| Размер пластины, мм | б | 8 | |
| Привязки анкеров, мм | а1 | 90 | |
| Привязки анкеров, мм | а2 | 35 | |
| Привязки анкеров, мм | b1 | 160 | |
| Привязки анкеров, мм | b2 | 40 | |
| Количество и диаметр анкеров | 8ф10AIII | ||
| Размер, мм | Н | 300 | |
| Выборка стали на 1 изделие (профильная сталь), кг | -б=8 | 12.6 | |
| Выборка стали на 1 изделие (арм. A3 ф10), кг | 1.4 | ||
| Итого, кг | 14 | ||
| Обозначение детали | 1.400-15.B1.230-13 |
Изделие закладное МН 220-5
![]() |
Параметр | Обозначение | Значение |
| Размер пластины, мм | А | 250 | |
| Размер пластины, мм | B | 400 | |
| Размер пластины, мм | б | 8 | |
| Привязки анкеров, мм | а1 | 90 | |
| Привязки анкеров, мм | а2 | 35 | |
| Привязки анкеров, мм | b1 | 160 | |
| Привязки анкеров, мм | b2 | 40 | |
| Количество и диаметр анкеров | 8ф10AIII | ||
| Размер, мм | Н | 400 | |
| Выборка стали на 1 изделие (профильная сталь), кг | -б=8 | 12.6 | |
| Выборка стали на 1 изделие (арм. A3 ф10), кг | 1.9 | ||
| Итого, кг | 14.5 | ||
| Обозначение детали | 1.400-15.B1.230-14 |
