Закладные изделия МН 217 по серии 1.400-15 выпуск 1
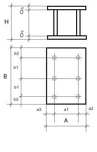
Изделие закладное МН 217-3
![]() |
Параметр | Обозначение | Значение |
| Размер пластины, мм | А | 300 | |
| Размер пластины, мм | B | 500 | |
| Размер пластины, мм | б | 10 | |
| Привязки анкеров, мм | а1 | 220 | |
| Привязки анкеров, мм | а2 | 40 | |
| Привязки анкеров, мм | b1 | 210 | |
| Привязки анкеров, мм | b2 | 40 | |
| Количество и диаметр анкеров | 6ф12AIII | ||
| Размер, мм | Н | 250 | |
| Выборка стали на 1 изделие (профильная сталь), кг | -б=10 | 23.6 | |
| Выборка стали на 1 изделие (арм. A3 ф12), кг | 1.3 | ||
| Итого, кг | 24.9 | ||
| Обозначение детали | 1.400-15.B1.220-33 |
Изделие закладное МН 217-4
![]() |
Параметр | Обозначение | Значение |
| Размер пластины, мм | А | 300 | |
| Размер пластины, мм | B | 500 | |
| Размер пластины, мм | б | 10 | |
| Привязки анкеров, мм | а1 | 220 | |
| Привязки анкеров, мм | а2 | 40 | |
| Привязки анкеров, мм | b1 | 210 | |
| Привязки анкеров, мм | b2 | 40 | |
| Количество и диаметр анкеров | 6ф12AIII | ||
| Размер, мм | Н | 300 | |
| Выборка стали на 1 изделие (профильная сталь), кг | -б=10 | 23.6 | |
| Выборка стали на 1 изделие (арм. A3 ф12), кг | 1.6 | ||
| Итого, кг | 25.2 | ||
| Обозначение детали | 1.400-15.B1.220-34 |
Изделие закладное МН 217-5
![]() |
Параметр | Обозначение | Значение |
| Размер пластины, мм | А | 300 | |
| Размер пластины, мм | B | 500 | |
| Размер пластины, мм | б | 10 | |
| Привязки анкеров, мм | а1 | 220 | |
| Привязки анкеров, мм | а2 | 40 | |
| Привязки анкеров, мм | b1 | 210 | |
| Привязки анкеров, мм | b2 | 40 | |
| Количество и диаметр анкеров | 6ф12AIII | ||
| Размер, мм | Н | 400 | |
| Выборка стали на 1 изделие (профильная сталь), кг | -б=10 | 23.6 | |
| Выборка стали на 1 изделие (арм. A3 ф12), кг | 2.1 | ||
| Итого, кг | 25.7 | ||
| Обозначение детали | 1.400-15.B1.220-35 |
