Закладные изделия МН 214 по серии 1.400-15 выпуск 1
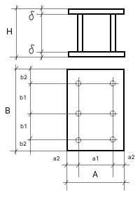
Изделие закладное МН 214-3
![]() |
Параметр | Обозначение | Значение |
| Размер пластины, мм | А | 250 | |
| Размер пластины, мм | B | 400 | |
| Размер пластины, мм | б | 12 | |
| Привязки анкеров, мм | а1 | 180 | |
| Привязки анкеров, мм | а2 | 35 | |
| Привязки анкеров, мм | b1 | 160 | |
| Привязки анкеров, мм | b2 | 40 | |
| Количество и диаметр анкеров | 6ф16AIII | ||
| Размер, мм | Н | 250 | |
| Выборка стали на 1 изделие (профильная сталь), кг | -б=12 | 18.8 | |
| Выборка стали на 1 изделие (арм. A3 ф16), кг | 2.3 | ||
| Итого, кг | 21.1 | ||
| Обозначение детали | 1.400-15.B1.220-20 |
Изделие закладное МН 214-4
![]() |
Параметр | Обозначение | Значение |
| Размер пластины, мм | А | 250 | |
| Размер пластины, мм | B | 400 | |
| Размер пластины, мм | б | 12 | |
| Привязки анкеров, мм | а1 | 180 | |
| Привязки анкеров, мм | а2 | 35 | |
| Привязки анкеров, мм | b1 | 160 | |
| Привязки анкеров, мм | b2 | 40 | |
| Количество и диаметр анкеров | 6ф16AIII | ||
| Размер, мм | Н | 300 | |
| Выборка стали на 1 изделие (профильная сталь), кг | -б=12 | 18.8 | |
| Выборка стали на 1 изделие (арм. A3 ф16), кг | 2.8 | ||
| Итого, кг | 21.6 | ||
| Обозначение детали | 1.400-15.B1.220-21 |
Изделие закладное МН 214-5
![]() |
Параметр | Обозначение | Значение |
| Размер пластины, мм | А | 250 | |
| Размер пластины, мм | B | 400 | |
| Размер пластины, мм | б | 12 | |
| Привязки анкеров, мм | а1 | 180 | |
| Привязки анкеров, мм | а2 | 35 | |
| Привязки анкеров, мм | b1 | 160 | |
| Привязки анкеров, мм | b2 | 40 | |
| Количество и диаметр анкеров | 6ф16AIII | ||
| Размер, мм | Н | 400 | |
| Выборка стали на 1 изделие (профильная сталь), кг | -б=12 | 18.8 | |
| Выборка стали на 1 изделие (арм. A3 ф16), кг | 3.7 | ||
| Итого, кг | 22.5 | ||
| Обозначение детали | 1.400-15.B1.220-22 |
Изделие закладное МН 214-6
![]() |
Параметр | Обозначение | Значение |
| Размер пластины, мм | А | 250 | |
| Размер пластины, мм | B | 400 | |
| Размер пластины, мм | б | 12 | |
| Привязки анкеров, мм | а1 | 180 | |
| Привязки анкеров, мм | а2 | 35 | |
| Привязки анкеров, мм | b1 | 160 | |
| Привязки анкеров, мм | b2 | 40 | |
| Количество и диаметр анкеров | 6ф16AIII | ||
| Размер, мм | Н | 500 | |
| Выборка стали на 1 изделие (профильная сталь), кг | -б=12 | 18.8 | |
| Выборка стали на 1 изделие (арм. A3 ф16), кг | 4.6 | ||
| Итого, кг | 23.4 | ||
| Обозначение детали | 1.400-15.B1.220-23 |
Изделие закладное МН 214-7
![]() |
Параметр | Обозначение | Значение |
| Размер пластины, мм | А | 250 | |
| Размер пластины, мм | B | 400 | |
| Размер пластины, мм | б | 12 | |
| Привязки анкеров, мм | а1 | 180 | |
| Привязки анкеров, мм | а2 | 35 | |
| Привязки анкеров, мм | b1 | 160 | |
| Привязки анкеров, мм | b2 | 40 | |
| Количество и диаметр анкеров | 6ф16AIII | ||
| Размер, мм | Н | 600 | |
| Выборка стали на 1 изделие (профильная сталь), кг | -б=12 | 18.8 | |
| Выборка стали на 1 изделие (арм. A3 ф16), кг | 5.6 | ||
| Итого, кг | 24.4 | ||
| Обозначение детали | 1.400-15.B1.220-24 |
