Закладные изделия МН 202 по серии 1.400-15 выпуск 1
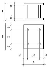
Изделие закладное МН 202-1
![]() |
Параметр | Обозначение | Значение |
| Размер пластины, мм | А | 150 | |
| Размер пластины, мм | B | 200 | |
| Размер пластины, мм | б | 10 | |
| Привязки анкеров, мм | а1 | 90 | |
| Привязки анкеров, мм | а2 | 30 | |
| Привязки анкеров, мм | b1 | 120 | |
| Привязки анкеров, мм | b2 | 40 | |
| Количество и диаметр анкеров | 4ф12AIII | ||
| Размер, мм | Н | 150 | |
| Выборка стали на 1 изделие (профильная сталь), кг | -б=10 | 4.8 | |
| Выборка стали на 1 изделие (арм. A3 ф12), кг | 0.5 | ||
| Итого, кг | 5.3 | ||
| Обозначение детали | 1.400-15.B1.210-05 |
Изделие закладное МН 202-2
![]() |
Параметр | Обозначение | Значение |
| Размер пластины, мм | А | 150 | |
| Размер пластины, мм | B | 200 | |
| Размер пластины, мм | б | 10 | |
| Привязки анкеров, мм | а1 | 90 | |
| Привязки анкеров, мм | а2 | 30 | |
| Привязки анкеров, мм | b1 | 120 | |
| Привязки анкеров, мм | b2 | 40 | |
| Количество и диаметр анкеров | 4ф12AIII | ||
| Размер, мм | Н | 200 | |
| Выборка стали на 1 изделие (профильная сталь), кг | -б=10 | 4.8 | |
| Выборка стали на 1 изделие (арм. A3 ф12), кг | 0.7 | ||
| Итого, кг | 5.5 | ||
| Обозначение детали | 1.400-15.B1.210-06 |
Изделие закладное МН 202-3
![]() |
Параметр | Обозначение | Значение |
| Размер пластины, мм | А | 150 | |
| Размер пластины, мм | B | 150 | |
| Размер пластины, мм | б | 10 | |
| Привязки анкеров, мм | а1 | 90 | |
| Привязки анкеров, мм | а2 | 30 | |
| Привязки анкеров, мм | b1 | 90 | |
| Привязки анкеров, мм | b2 | 30 | |
| Количество и диаметр анкеров | 4ф12AIII | ||
| Размер, мм | Н | 250 | |
| Выборка стали на 1 изделие (профильная сталь), кг | -б=10 | 4.8 | |
| Выборка стали на 1 изделие (арм. A3 ф12), кг | 0.8 | ||
| Итого, кг | 5.6 | ||
| Обозначение детали | 1.400-15.B1.210-07 |
Изделие закладное МН 202-4
![]() |
Параметр | Обозначение | Значение |
| Размер пластины, мм | А | 150 | |
| Размер пластины, мм | B | 150 | |
| Размер пластины, мм | б | 10 | |
| Привязки анкеров, мм | а1 | 90 | |
| Привязки анкеров, мм | а2 | 30 | |
| Привязки анкеров, мм | b1 | 90 | |
| Привязки анкеров, мм | b2 | 30 | |
| Количество и диаметр анкеров | 4ф12AIII | ||
| Размер, мм | Н | 300 | |
| Выборка стали на 1 изделие (профильная сталь), кг | -б=10 | 4.8 | |
| Выборка стали на 1 изделие (арм. A3 ф12), кг | 1 | ||
| Итого, кг | 5.8 | ||
| Обозначение детали | 1.400-15.B1.210-08 |
Изделие закладное МН 202-5
![]() |
Параметр | Обозначение | Значение |
| Размер пластины, мм | А | 150 | |
| Размер пластины, мм | B | 150 | |
| Размер пластины, мм | б | 10 | |
| Привязки анкеров, мм | а1 | 90 | |
| Привязки анкеров, мм | а2 | 30 | |
| Привязки анкеров, мм | b1 | 90 | |
| Привязки анкеров, мм | b2 | 30 | |
| Количество и диаметр анкеров | 4ф12AIII | ||
| Размер, мм | Н | 400 | |
| Выборка стали на 1 изделие (профильная сталь), кг | -б=10 | 4.8 | |
| Выборка стали на 1 изделие (арм. A3 ф12), кг | 1.4 | ||
| Итого, кг | 6.2 | ||
| Обозначение детали | 1.400-15.B1.210-09 |
