Закладные изделия МН 325 по серии 1.400-15 выпуск 1
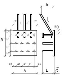
Изделие закладное МН 325-3
![]() |
Параметр | Обозначение | Значение |
| Размер пластины, мм | А | 500 | |
| Размер пластины, мм | B | 400 | |
| Размер пластины, мм | б | 10 | |
| Привязки анкеров, мм | а1 | 140 | |
| Привязки анкеров, мм | а2 | 40 | |
| Привязки анкеров, мм | b1 | 160 | |
| Привязки анкеров, мм | b2 | 40 | |
| Привязки анкеров, мм | с1 | 175 | |
| Привязки анкеров, мм | с2 | 75 | |
| Количество и диаметр гнутых анкеров | 3ф20AIII | ||
| Длина гнутых анкеров, мм | l | 750 | |
| Длина гнутых анкеров, мм | h | 210 | |
| Количество и диаметр прямых анкеров | 12ф14AIII | ||
| Длина прямых анкеров, мм | L | 220 | |
| Размеры пластин усиления и кол-во, мм | 50х50х10 (шт.4) | ||
| Выборка стали на 1 изделие (профильная сталь), кг | -б=10 | 16.5 | |
| Выборка стали на 1 изделие (арм. A3 ф14), кг | 3.2 | ||
| Выборка стали на 1 изделие (арм. A3 ф20), кг | 6.7 | ||
| Итого, кг | 26.4 |
Изделие закладное МН 325-4
|
Параметр | Обозначение | Значение |
| Размер пластины, мм | А | 500 | |
| Размер пластины, мм | B | 400 | |
| Размер пластины, мм | б | 10 | |
| Привязки анкеров, мм | а1 | 140 | |
| Привязки анкеров, мм | а2 | 40 | |
| Привязки анкеров, мм | b1 | 160 | |
| Привязки анкеров, мм | b2 | 40 | |
| Привязки анкеров, мм | с1 | 175 | |
| Привязки анкеров, мм | с2 | 75 | |
| Количество и диаметр гнутых анкеров | 3ф20AIII | ||
| Длина гнутых анкеров, мм | l | 750 | |
| Длина гнутых анкеров, мм | h | 260 | |
| Количество и диаметр прямых анкеров | 12ф14AIII | ||
| Длина прямых анкеров, мм | L | 270 | |
| Размеры пластин усиления и кол-во, мм | 50х50х10 (шт.4) | ||
| Выборка стали на 1 изделие (профильная сталь), кг | -б=10 | 16.5 | |
| Выборка стали на 1 изделие (арм. A3 ф14), кг | 4 | ||
| Выборка стали на 1 изделие (арм. A3 ф20), кг | 6.7 | ||
| Итого, кг | 27.2 |
Изделие закладное МН 325-5
|
Параметр | Обозначение | Значение |
| Размер пластины, мм | А | 500 | |
| Размер пластины, мм | B | 400 | |
| Размер пластины, мм | б | 10 | |
| Привязки анкеров, мм | а1 | 140 | |
| Привязки анкеров, мм | а2 | 40 | |
| Привязки анкеров, мм | b1 | 160 | |
| Привязки анкеров, мм | b2 | 40 | |
| Привязки анкеров, мм | с1 | 175 | |
| Привязки анкеров, мм | с2 | 75 | |
| Количество и диаметр гнутых анкеров | 3ф20AIII | ||
| Длина гнутых анкеров, мм | l | 750 | |
| Длина гнутых анкеров, мм | h | 260 | |
| Количество и диаметр прямых анкеров | 12ф14AIII | ||
| Длина прямых анкеров, мм | L | 370 | |
| Размеры пластин усиления и кол-во, мм | 50х50х10 (шт.4) | ||
| Выборка стали на 1 изделие (профильная сталь), кг | -б=10 | 16.5 | |
| Выборка стали на 1 изделие (арм. A3 ф14), кг | 5.4 | ||
| Выборка стали на 1 изделие (арм. A3 ф20), кг | 6.7 | ||
| Итого, кг | 28.6 |
