Закладные изделия МН 301 по серии 1.400-15 выпуск 1
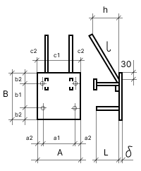
Изделие закладное МН 301-1
![]() |
Параметр | Обозначение | Значение |
| Размер пластины, мм | А | 200 | |
| Размер пластины, мм | B | 150 | |
| Размер пластины, мм | б | 8 | |
| Привязки анкеров, мм | а1 | 140 | |
| Привязки анкеров, мм | а2 | 30 | |
| Привязки анкеров, мм | b1 | 90 | |
| Привязки анкеров, мм | b2 | 35 | |
| Привязки анкеров, мм | с1 | 80 | |
| Привязки анкеров, мм | с2 | 60 | |
| Количество и диаметр гнутых анкеров | 2ф12AIII | ||
| Длина гнутых анкеров, мм | l | 480 | |
| Длина гнутых анкеров, мм | h | 120 | |
| Количество и диаметр прямых анкеров | 4ф12AIII | ||
| Длина прямых анкеров, мм | L | 120 | |
| Размеры пластин усиления и кол-во, мм | 50х50х10 (шт.2) | ||
| Выборка стали на 1 изделие (профильная сталь), кг | -б=8 | 1.9 | |
| Выборка стали на 1 изделие (профильная сталь), кг | -б=10 | 0.4 | |
| Выборка стали на 1 изделие (арм. A3 ф12), кг | 1.5 | ||
| Итого, кг | 3.8 |
Изделие закладное МН 301-2
![]() |
Параметр | Обозначение | Значение |
| Размер пластины, мм | А | 200 | |
| Размер пластины, мм | B | 150 | |
| Размер пластины, мм | б | 8 | |
| Привязки анкеров, мм | а1 | 140 | |
| Привязки анкеров, мм | а2 | 30 | |
| Привязки анкеров, мм | b1 | 90 | |
| Привязки анкеров, мм | b2 | 35 | |
| Привязки анкеров, мм | с1 | 80 | |
| Привязки анкеров, мм | с2 | 60 | |
| Количество и диаметр гнутых анкеров | 2ф12AIII | ||
| Длина гнутых анкеров, мм | l | 480 | |
| Длина гнутых анкеров, мм | h | 170 | |
| Количество и диаметр прямых анкеров | 4ф12AIII | ||
| Длина прямых анкеров, мм | L | 170 | |
| Размеры пластин усиления и кол-во, мм | 50х50х10 (шт.2) | ||
| Выборка стали на 1 изделие (профильная сталь), кг | -б=8 | 1.9 | |
| Выборка стали на 1 изделие (профильная сталь), кг | -б=10 | 0.4 | |
| Выборка стали на 1 изделие (арм. A3 ф12), кг | 1.6 | ||
| Итого, кг | 3.9 |
Изделие закладное МН 301-3
![]() |
Параметр | Обозначение | Значение |
| Размер пластины, мм | А | 200 | |
| Размер пластины, мм | B | 150 | |
| Размер пластины, мм | б | 8 | |
| Привязки анкеров, мм | а1 | 140 | |
| Привязки анкеров, мм | а2 | 30 | |
| Привязки анкеров, мм | b1 | 90 | |
| Привязки анкеров, мм | b2 | 35 | |
| Привязки анкеров, мм | с1 | 80 | |
| Привязки анкеров, мм | с2 | 60 | |
| Количество и диаметр гнутых анкеров | 2ф12AIII | ||
| Длина гнутых анкеров, мм | l | 480 | |
| Длина гнутых анкеров, мм | h | 170 | |
| Количество и диаметр прямых анкеров | 4ф12AIII | ||
| Длина прямых анкеров, мм | L | 220 | |
| Размеры пластин усиления и кол-во, мм | 50х50х10 (шт.2) | ||
| Выборка стали на 1 изделие (профильная сталь), кг | -б=8 | 1.9 | |
| Выборка стали на 1 изделие (профильная сталь), кг | -б=10 | 0.4 | |
| Выборка стали на 1 изделие (арм. A3 ф12), кг | 1.8 | ||
| Итого, кг | 4.1 |
