Закладные изделия МН 312 по серии 1.400-15 выпуск 1
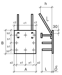
Изделие закладное МН 312-2
![]() |
Параметр | Обозначение | Значение |
| Размер пластины, мм | А | 300 | |
| Размер пластины, мм | B | 400 | |
| Размер пластины, мм | б | 8 | |
| Привязки анкеров, мм | а1 | 120 | |
| Привязки анкеров, мм | а2 | 30 | |
| Привязки анкеров, мм | b1 | 160 | |
| Привязки анкеров, мм | b2 | 40 | |
| Привязки анкеров, мм | с1 | 170 | |
| Привязки анкеров, мм | с2 | 65 | |
| Количество и диаметр гнутых анкеров | 2ф16AIII | ||
| Длина гнутых анкеров, мм | l | 620 | |
| Длина гнутых анкеров, мм | h | 160 | |
| Количество и диаметр прямых анкеров | 8ф12AIII | ||
| Длина прямых анкеров, мм | L | 170 | |
| Размеры пластин усиления и кол-во, мм | 50х50х10 (шт.3) | ||
| Выборка стали на 1 изделие (профильная сталь), кг | -б=8 | 7.5 | |
| Выборка стали на 1 изделие (профильная сталь), кг | -б=10 | 0.6 | |
| Выборка стали на 1 изделие (арм. A3 ф12), кг | 1.2 | ||
| Выборка стали на 1 изделие (арм. A3 ф16), кг | 2.3 | ||
| Итого, кг | 11.6 |
Изделие закладное МН 312-3
![]() |
Параметр | Обозначение | Значение |
| Размер пластины, мм | А | 300 | |
| Размер пластины, мм | B | 400 | |
| Размер пластины, мм | б | 8 | |
| Привязки анкеров, мм | а1 | 120 | |
| Привязки анкеров, мм | а2 | 30 | |
| Привязки анкеров, мм | b1 | 160 | |
| Привязки анкеров, мм | b2 | 40 | |
| Привязки анкеров, мм | с1 | 170 | |
| Привязки анкеров, мм | с2 | 65 | |
| Количество и диаметр гнутых анкеров | 2ф16AIII | ||
| Длина гнутых анкеров, мм | l | 620 | |
| Длина гнутых анкеров, мм | h | 210 | |
| Количество и диаметр прямых анкеров | 8ф12AIII | ||
| Длина прямых анкеров, мм | L | 220 | |
| Размеры пластин усиления и кол-во, мм | 50х50х10 (шт.3) | ||
| Выборка стали на 1 изделие (профильная сталь), кг | -б=8 | 7.5 | |
| Выборка стали на 1 изделие (профильная сталь), кг | -б=10 | 0.6 | |
| Выборка стали на 1 изделие (арм. A3 ф12), кг | 1.6 | ||
| Выборка стали на 1 изделие (арм. A3 ф16), кг | 2.3 | ||
| Итого, кг | 12 |
Изделие закладное МН 312-4
![]() |
Параметр | Обозначение | Значение |
| Размер пластины, мм | А | 300 | |
| Размер пластины, мм | B | 400 | |
| Размер пластины, мм | б | 8 | |
| Привязки анкеров, мм | а1 | 120 | |
| Привязки анкеров, мм | а2 | 30 | |
| Привязки анкеров, мм | b1 | 160 | |
| Привязки анкеров, мм | b2 | 40 | |
| Привязки анкеров, мм | с1 | 170 | |
| Привязки анкеров, мм | с2 | 65 | |
| Количество и диаметр гнутых анкеров | 2ф16AIII | ||
| Длина гнутых анкеров, мм | l | 620 | |
| Длина гнутых анкеров, мм | h | 210 | |
| Количество и диаметр прямых анкеров | 8ф12AIII | ||
| Длина прямых анкеров, мм | L | 270 | |
| Размеры пластин усиления и кол-во, мм | 50х50х10 (шт.3) | ||
| Выборка стали на 1 изделие (профильная сталь), кг | -б=8 | 7.5 | |
| Выборка стали на 1 изделие (профильная сталь), кг | -б=10 | 0.6 | |
| Выборка стали на 1 изделие (арм. A3 ф12), кг | 1.9 | ||
| Выборка стали на 1 изделие (арм. A3 ф16), кг | 2.3 | ||
| Итого, кг | 12.3 |
