Закладные изделия МН 601 по серии 1.400-15 выпуск 0
Изделие закладное МН 601
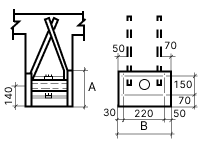
![]() |
Параметр | Обозначение | Значение |
| Размер пластины, мм | А | 250 | |
| Размер пластины, мм | В | 300 | |
| Размер пластины, мм | б | 8 | |
| Кол-во пластин, шт | 2 | ||
| Кол-во и диаметр анкеров (гнутых) | (2+2)ф12AIII | ||
| Кол-во и диаметр анкеров (прямых) | (4+4)ф10AIII | ||
| Сечение трубы | 20 | ||
| Длина трубы, мм | 190 | ||
| Выборка стали на 1 изделие (профильная сталь), кг | -б=8 | 9.4 | |
| Выборка стали на 1 изделие (труба), кг | тр.20 | 0.3 | |
| Выборка стали на 1 изделие (арм. AIII ф10), кг | 0.7 | ||
| Выборка стали на 1 изделие (арм. AIII ф12), кг | 1.1 | ||
| Итого, кг | 11.5 | ||
| Обозначение детали | 1.400-15.B1.610 |
