Закладные изделия МН 609 по серии 1.400-15 выпуск 0
Изделие закладное МН 609
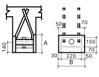
![]() |
Параметр | Обозначение | Значение |
| Размер пластины, мм | А | 250 | |
| Размер пластины, мм | В | 300 | |
| Размер пластины, мм | б | 10 | |
| Кол-во пластин, шт | 2 | ||
| Кол-во и диаметр анкеров (гнутых) | (2+2)ф16AIII | ||
| Кол-во и диаметр анкеров (прямых) | (4+4)ф12AIII | ||
| Сечение трубы | 20 | ||
| Длина трубы, мм | 290 | ||
| Выборка стали на 1 изделие (профильная сталь), кг | -б=10 | 11.8 | |
| Выборка стали на 1 изделие (труба), кг | тр.20 | 0.5 | |
| Выборка стали на 1 изделие (арм. AIII ф12), кг | 1.4 | ||
| Выборка стали на 1 изделие (арм. AIII ф16), кг | 4 | ||
| Итого, кг | 17.7 | ||
| Обозначение детали | 1.400-15.B1.610-08 |
