Закладные изделия МН 552 по серии 1.400-15 выпуск 1
Изделие закладное МН 552
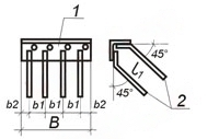
![]() |
Параметр | Обозначение | Значение |
| Сечение уголка (поз.1), мм | 50х5 | ||
| Длина уголка, мм | B | п.м. | |
| Кол-во и диаметр арматуры (поз.2) | 8ф8AIII | ||
| Длина арматуры (поз.2), мм | l1 | 160 | |
| Привязки анкеров, мм | b1 | 250 | |
| Выборка стали на 1 изделие (профильная сталь 50х5), кг | 3.8 | ||
| Выборка стали на 1 изделие (арм. AIII ф8), кг | 0.6 | ||
| Итого, кг | 4.4 | ||
| Обозначение детали | 1.400-15.B1.550-03 |
